双膛窑
双膛窑
双膛窑

双膛窑

双膛窑是目前广泛的石灰窑技术。该窑炉通过两座相互连通的窑膛交替煅烧作业,生产出的石灰活性度高、品质优异,可满足绝大多数市场用户的使用要求。此外,其可适配多种燃料的特点,使其广泛适用于大型石灰生产企业。

应用: 对产品质量要求严格的大中型石灰生产线

1.热效率高、能耗低:

采用交替煅烧 + 余热回收设计,热效率可达75%~85%,远优于单筒立式窑(50%~60%);单位产品能耗低。以石灰煅烧为例,每吨活性石灰燃料消耗仅为天然气 80~120m³或煤粉 120~150kg,比单筒立式窑降低20%~30%。

2.环保性能优异,排放达标:

采用旋风除尘器 + 布袋除尘器二级净化系统,粉尘排放浓度≤10mg/m³,远低于国家标准(30mg/m³);燃烧过程采用低温助燃风、短火焰设计,氮氧化物排放浓度≤300mg/m³,无需额外脱硝设备即可达标。

3.适应性强,产品质量稳定:

可处理多种原料(石灰石、白云石、菱镁矿等),原料粒径适用范围广(20–80mm),对原料成分波动耐受性强(CaCO₃含量 ±5% 波动不影响成品质量)。交替煅烧模式保证窑内温度场均匀(温差≤50℃),成品活性度高(石灰活性度≥300ml/4N-HCl),生烧 / 过烧率低(≤5%),质量稳定性优于回转窑(回转窑生烧 / 过烧率≤8%)。

4.占地面积小,投资成本低:

占地面积为同产能回转窑的 30%~50%(如日产 300 吨石灰生产线仅需约 800㎡),土建投资降低 20%~30%。
设备结构简单(无复杂传动部件),采购成本比回转窑低 40%~50%,安装周期短(3~4 个月),适合中小企业快速投产部署。

5.运行稳定,维护成本低:

交替运行模式消除了连续高温区域,窑衬(耐火砖)使用寿命延长至3~5 年,远高于回转窑(1~2 年);核心部件(换向阀、燃烧器)故障率低,年运行时间可达8000 小时以上。

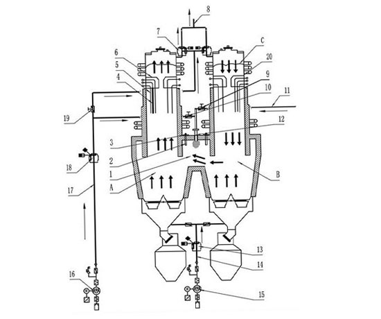
工作原理

双膛窑由两个膛体对石灰石进行煅烧。A 膛与 B 膛在煅烧带底部连通,物料从两个膛体同步下行。 A 膛煅烧时,助燃风与燃料和膛内物料同向流动,高温火焰直接接触温度较低、吸热量大的物料;相对低温的烟气则与逐步完成煅烧的物料接触,实现煅烧均匀、热效率高。燃烧产物与物料分解出的二氧化碳经底部通道进入 B 膛。此阶段 B 膛作为蓄热膛体,内部石灰石吸收烟气热量,烟气被降温冷却。物料储存的热量用于下一周期助燃风的预热。 在该过程中,A 膛为燃烧膛,体现顺流煅烧特点;B 膛为蓄热膛,具备蓄热功能。下一周期两膛角色互换,A 膛转为蓄热膛,B 膛转为燃烧膛,以此实现石灰石连续煅烧。


相关案例

申请报价

*
*
*
*
*
*
*

Copyright © 黎明重工 版权所有 隐私政策